Notre boutique utilise des cookies pour améliorer l'expérience utilisateur et nous vous recommandons d'accepter leur utilisation pour profiter pleinement de votre navigation.
Plus d'informations
Personnalisation
Configuration des cookies
Personnalisation
- Cookies tiers à des fins d'analyse.
- Afficher des recommandations personnalisées en fonction de votre navigation sur d'autres sites
- Afficher des campagnes personnalisées sur d'autres sites Web
Fonctionnel (obligatoire)
- Nécessaire pour naviguer sur ce site et utiliser ses fonctions.
- Vous identifier en tant qu'utilisateur et enregistrer vos préférences telles que la langue et la devise.
- Personnalisez votre expérience en fonction de votre navigation.
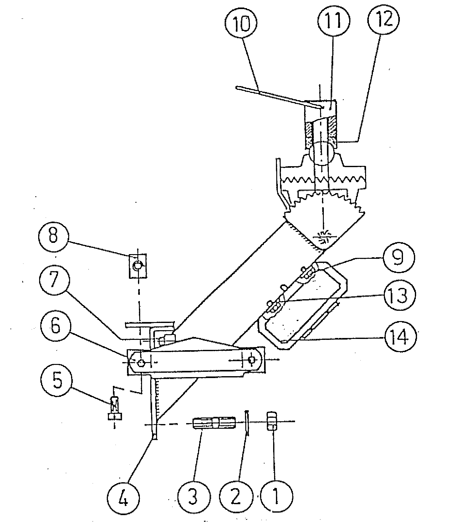
Group support poignée
| Position | Réf. produit | Nom | Prix | Disponibilité |
|---|---|---|---|---|
| 10 | X2050033 | Ressort Référence X2050033 | 25,02 € |
|
| 11 | X2050019 | Ecrou Référence X2050019 | 14,31 € |
|
| 12 | X2050043 | Rondelle Référence X2050043 | 14,57 € |
|
| 14 | F1092103 | Boite A Outils Référence F1092103 | 20,85 € |