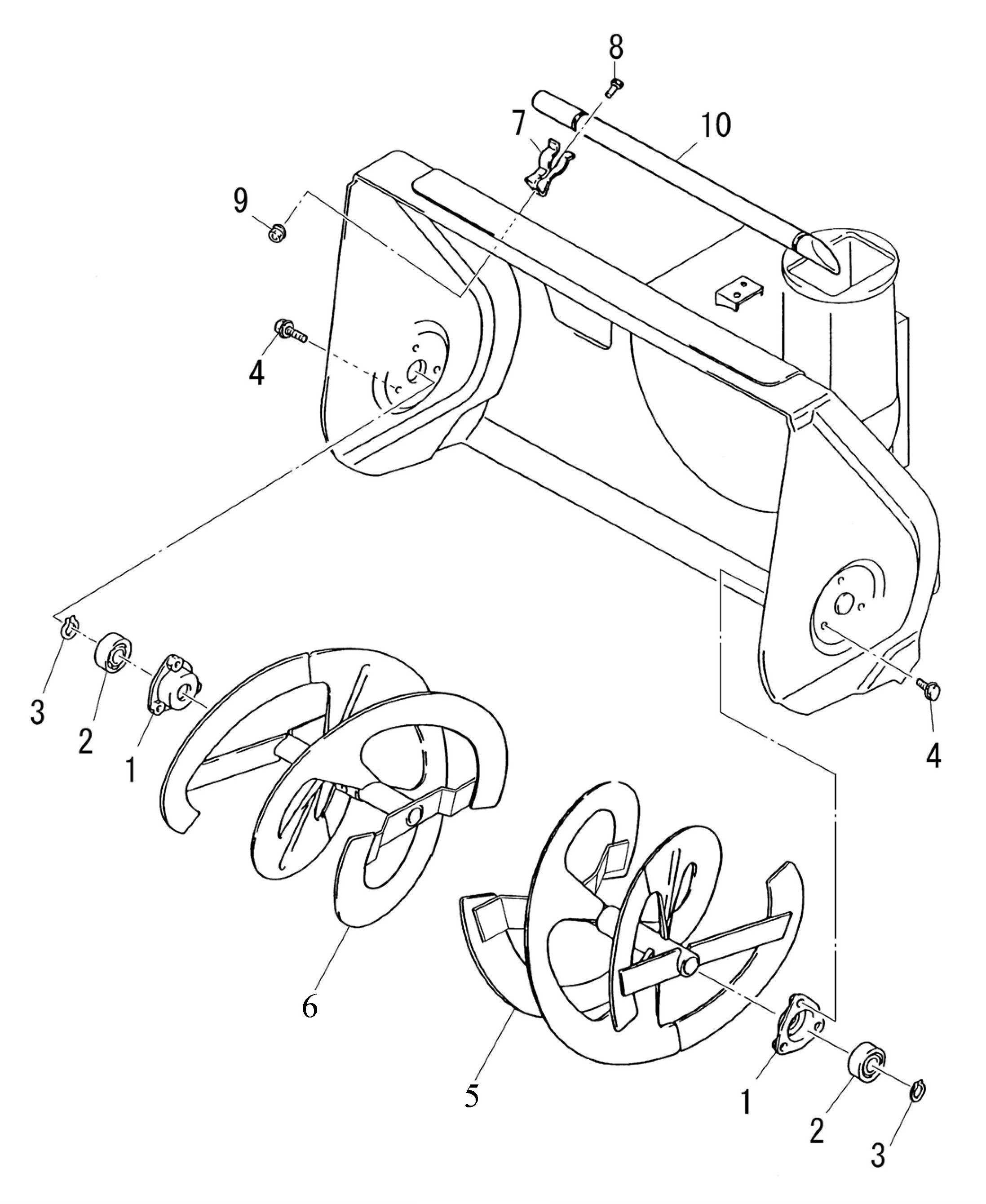
| 1 |
FSR450-2-16-0 |
Support Metal Référence FSR450-2-16-0 |
42,01 € |
|
| 2 |
V60015-06203 |
Roulement Référence V60015-06203 |
89,45 € |
|
| 3 |
V70416-00170 |
Anneau D'arret Référence V70416-00170 |
4,05 € |
|
| 4 |
V21126-08016 |
Va Vis Avec Rondelle Grover Référence V21126-08016 |
4,10 € |
|
| 5 |
8714-05-06-00 |
Fraise Cpl G Référence 8714-05-06-00 |
1 096,70 € |
|
| 5 |
8723-03-11-00A |
Fraise Cpl G Référence 8723-03-11-00A |
1 096,70 € |
|
| 6 |
8714-05-07-00 |
Fraise Cpl D Référence 8714-05-07-00 |
1 129,60 € |
|
| 6 |
8723-03-12-00A |
Fraise Cpl D Référence 8723-03-12-00A |
1 086,36 € |
|
| 7 |
FSR750-6-5-0 |
Fasten Spring Référence FSR750-6-5-0 |
77,94 € |
|
| 8 |
V20026-06012 |
Vis Référence V20026-06012 |
2,44 € |
|
| 9 |
V31020-00060 |
Ecrou Référence V31020-00060 |
3,49 € |
|
| 10 |
8718-03-12-0 |
Bar Removal Référence 8718-03-12-0 |
137,26 € |
|