Notre boutique utilise des cookies pour améliorer l'expérience utilisateur et nous vous recommandons d'accepter leur utilisation pour profiter pleinement de votre navigation.
Plus d'informations
Personnalisation
Configuration des cookies
Personnalisation
- Cookies tiers à des fins d'analyse.
- Afficher des recommandations personnalisées en fonction de votre navigation sur d'autres sites
- Afficher des campagnes personnalisées sur d'autres sites Web
Fonctionnel (obligatoire)
- Nécessaire pour naviguer sur ce site et utiliser ses fonctions.
- Vous identifier en tant qu'utilisateur et enregistrer vos préférences telles que la langue et la devise.
- Personnalisez votre expérience en fonction de votre navigation.
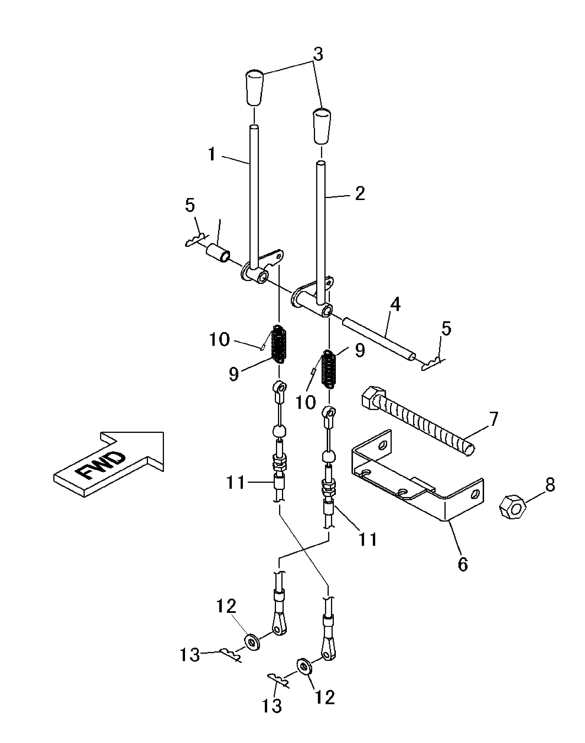
Leviers
| Position | Réf. produit | Nom | Prix | Disponibilité |
|---|---|---|---|---|
| 9 | 0211260 | Ressort Référence 0211260 | 29,54 € |
|
| 11 | 8641-08-33-0 | Cable Declabotage Référence 8641-08-33-0 | 61,32 € |
|
| 12 | V41316-00060 | Rondelle Plate Référence V41316-00060 | 1,64 € | |
| 13 | V53116-00060 | Goupille Beta Référence V53116-00060 | 4,86 € |